アサヒ産業の特許シルトフェンス
公開特許1「魚等の水棲動物に優しい環境を実現する」

特開2019-131969(要約部分)
【課題】シルトフェンスの外側の水域における水中環境を良好にして、魚等の水棲動物に優しい環境を実現する。
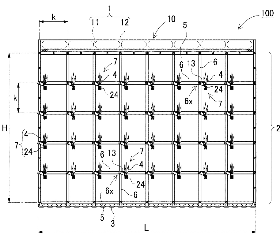
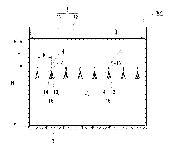
【解決手段】シルトフェンスは、水に浮く浮きとなるフロート部1と、フロート部1の下部に連結されたフェンス部2と、フェンス部2の下端に固定されたウエイト部3とを備えている。さらに、シルトフェンスは、フェンス部2が、可撓性を有するシート材5で構成されると共に、フェンス部2の表面の複数箇所に植物4を配置している
公開特許2「水質浄化作用を備えるシルトフェンス」

特開2016-132876(要約部分)
【課題】簡単な構成としながら、水質の浄化作用を備えるシルトフェンスを提供する
【解決手段】水質浄化作用を有するシルトフェンスは、水に浮く浮きとなるフロート部1と、フロート部1の下部に連結されたフェンス部2と、フェンス部2の下端に固定されたウェイト部3と、水質の浄化作用を有する浄化手段4を備えており、この浄化手段4が、汚物の吸着作用を有する炭素繊維からなる浄化部材13を備えると共に、浄化部材13を、フェンス部2またはフロート部1に対して交換可能に配設している



